αυτόματο κιβώτιο

Στάθμη υγρών στο αυτοκίνητο: Χαμηλή ή ψηλή, πότε χτυπάει συναγερμός;

Το μοτέρ και τα συστήματα που υποστηρίζουν το αυτοκίνητο χρησιμοποιούν υγρά και λιπαντικά, είτε για…

| Δημήτρης Βαμβακίδης

Αυτόματο κιβώτιο: Απαραίτητη η αλλαγή λιπαντικού, πότε και πώς;

Το 2010, μόλις το 9% των καινούργιων αυτοκινήτων ήταν εξοπλισμένα με αυτόματο κιβώτιο ταχυτήτων.…

| Δημήτρης Βαμβακίδης

Αμείλικτα τα νούμερα: Το χειροκίνητο κιβώτιο αργοπεθαίνει

Το 2001, σχεδόν κάθε επιβατικό αυτοκίνητο που ταξινομήθηκε στις πέντε μεγάλες ευρωπαϊκές αγορές -…

| Δημήτρης Σαμπαζιώτης

Mazda MX-5: Κι όμως, κάποιος το αγόρασε με αυτόματο κιβώτιο

Το Mazda MX-5 είναι συνυφασμένο στο μυαλό μας με το εξαιρετικό του κιβώτιο. Το 1/3 της γοητείας του…

| Δημήτρης Σαμπαζιώτης

Επιτέλους, το Dacia Duster 4x4 με αυτόματο κι υγραέριο

Ήταν ένα από τα παράπονά μας, αλλά και χιλιάδων αγοραστών: Γιατί να μην μπορείς να συνδυάσεις το…

| Δημήτρης Σαμπαζιώτης

Porsche 911 Carrera S, επιστρέφει αλλά μόνο αυτόματη

Η γκάμα της 911 επεκτείνεται για άλλη μια φορά. Το Zuffenhausen ανακοίνωσε με δόξα και τιμή τη νέα…

| Δημήτρης Σαμπαζιώτης

8άρι αυτόματο για την Toyota GR Corolla των 300+ ίππων;

Αυτή τη στιγμή, η Toyota GR Corolla προσφέρεται αποκλειστικά με μηχανικό κιβώτιο ταχυτήτων, αλλά…

| Δημήτρης Σαμπαζιώτης

«Τέλος» το χειροκίνητο σασμάν, είπε η BMW

Το χειροκίνητο κιβώτιο ταχυτήτων δεν περιλαμβάνεται εδώ και καιρό στον κατάλογο των σπορ και…

| Δημήτρης Βαμβακίδης

Τουμπάρισε το Kia Seltos βάζοντας λάθος ταχύτητα [video]

Η νεαρή Αυστραλή οδηγός του Kia Seltos θα θυμάται αυτή την περιπέτεια για πολύ καιρό.  Η 33χρονη…

| DRIVE Team

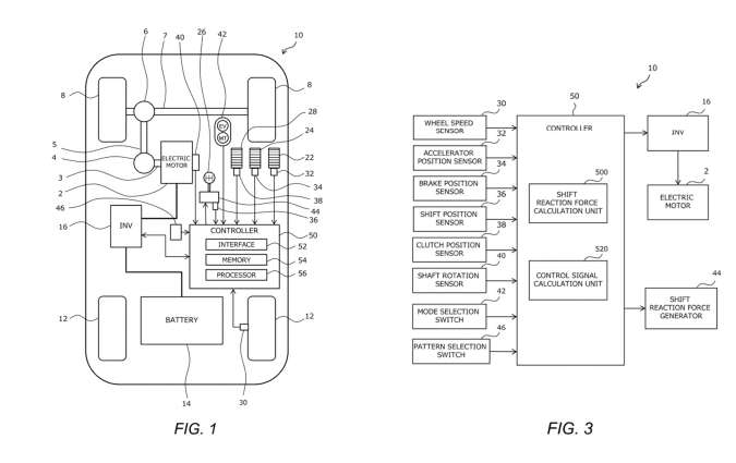
EV MT: Η Toyota πατεντάρει χειροκίνητα κιβώτια για ηλεκτρικά οχήματα!

Τα τελευταία χρόνια παρατηρείται μία άνθιση των αυτόματων κιβωτίων. Τα συγκεκριμένα όχι μόνο…

| Μιχάλης Κατωπόδης

Στις εκθέσεις οι αυτόματες εκδόσεις του Ford Puma

Η Ford προσφέρει το δημοφιλές Puma 1.0 EcoBoost mHEV και με αυτόματο κιβώτιο 7 σχέσεων που έρχεται…

| DRIVE Team

Η αντεπίθεση των κιβωτίων με μετατροπέα ροπής: Το παράδειγμα των BMW M3/M4

Είτε το θέλουμε, είτε όχι, ο κόσμος του αυτοκινήτου μετασχηματίζεται συνεχώς. Και μέχρι να…

| Μιχάλης Κατωπόδης

Γιατί τα ηλεκτρικά οχήματα έχουν κιβώτια με μία μόνο σχέση;

Το παραπάνω μπορεί, σε πρώτη ανάγνωση, να ακούγεται αφύσικο. Στην πράξη, όμως, υπάρχουν πολλές…

| Μιχάλης Κατωπόδης

Test drive: Nissan Micra 1.0 IG-T Xtronic

To Micra ήταν ανέκαθεν πολύ δημοφιλές στις σχολές οδηγών, διότι ήταν και είναι ιδιαίτερα εύκολο…

| Κλεάνθης Τριανταφυλλίδης