Όμιλος Stellantis, τιμόνι με γκάζι και φρένο!
Ο Όμιλος Stellantis μόλις κατοχύρωσε με δίπλωμα ευρεσιτεχνίας ένα τιμόνι με κινητές λαβές θυμίζουν αεροπλάνο και αντικαθιστούν τα παραδοσιακά πεντάλ γκαζιού και φρένου. Βήμα προς την αυτόνομη οδήγηση;
Η ανάπτυξη τεχνολογιών «by wire» στα αυτοκίνητα, δηλαδή 100% ηλεκτρικά χειριστήρια χωρίς μηχανική σύνδεση μεταξύ του οδηγού και των εξαρτημάτων που χειρίζεται, ανοίγει τον δρόμο για την εφεύρεση νέων συστημάτων ελέγχου.
Τα τιμόνια αεροπορικού τύπου, όπως το Yoke της Tesla ή το μελλοντικό Hypersquare της Peugeot, αποτελούν τα τέλεια παραδείγματα. Ο Όμιλος Stellantis, μητρική εταιρεία της Peugeot, θα μπορούσε να προχωρήσει ακόμη περισσότερο με ένα τιμόνι που θα ενσωματώνει χειριστήρια για την επιτάχυνση και το φρενάρισμα. Τιμόνι για το οποίο μόλις κατέθεσε δίπλωμα ευρεσιτεχνίας στις Ηνωμένες Πολιτείες.
Το νεωτερικό τιμόνι από τον Όμιλο Stellantis είναι σχεδιασμένο έτσι ώστε να μπορεί να ανασύρεται μέσα στο ταμπλό

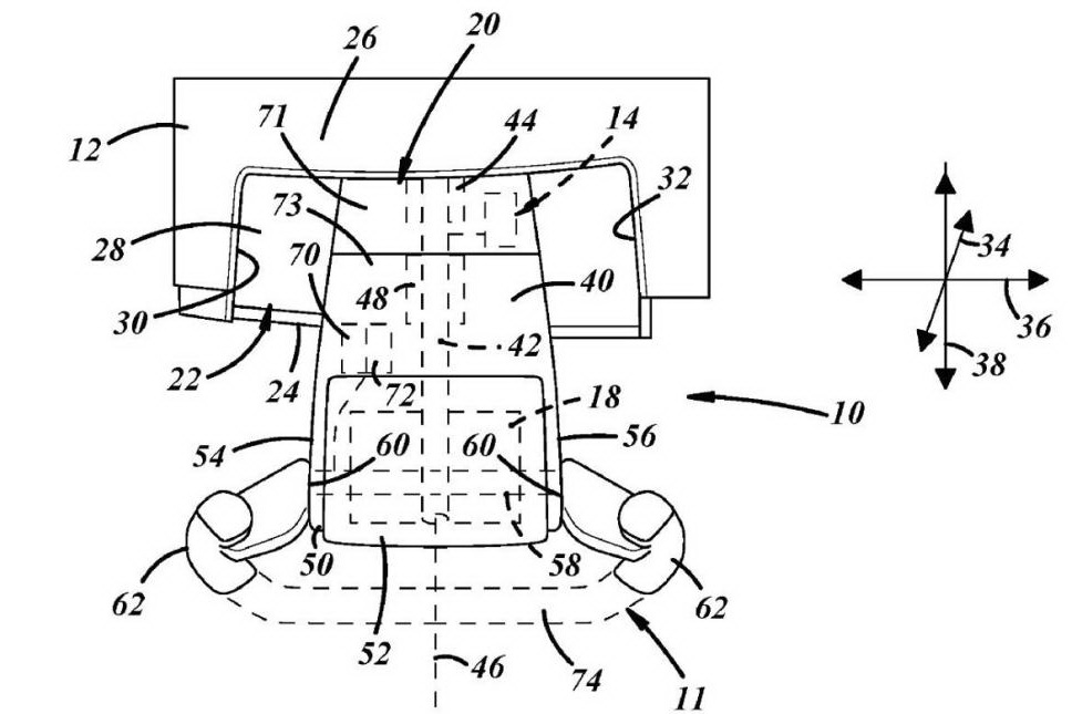
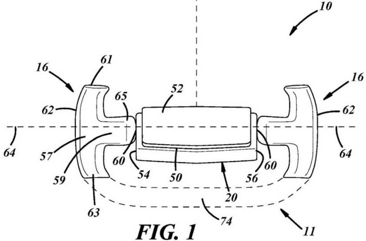
Το τιμόνι που φαντάστηκε ο Όμιλος Stellantis δεν είναι στην πραγματικότητα ένα κομμάτι. Αποτελείται από δύο λαβές που συνδέονται σε μια κεντρική πλήμνη μέσω ενός άξονα γύρω από τον οποίο μπορούν να περιστρέφονται. Πιέζοντας ή τραβώντας τις λαβές αυτές, το αυτοκίνητο επιταχύνει ή φρενάρει αντίστοιχα.
ΔΕΙΤΕ ΑΚΟΜΗ Toyota, τιμόνι χωρίς κολόνα στην Ευρώπη από το 2025
Αλλά αυτή η διαμόρφωση θα μπορούσε να είναι ενοχλητική στη χρήση, καθώς το σώμα του οδηγού, λόγω αδράνειας, ωθείται προς τα πίσω όταν επιταχύνει και προς τα εμπρός όταν φρενάρει. Ανάδραση που μπορεί να δώσει στον χρήστη την αίσθηση στο πώς μεταδίδεται η κινητική ενέργεια.

Καταρχήν, αυτό το όργανο θυμίζει ορισμένα συστήματα οδήγησης που προορίζονται για άτομα με μειωμένη κινητικότητα. Επομένως πρόκειται για μηχανικές συσκευές, πιο περιοριστικές, προορισμένες για την εγκατάστασή τους σε οχήματα που δεν έχουν ακόμα σχεδιαστεί.
ΔΕΙΤΕ ΑΚΟΜΗ H BMW πάει το τιμόνι yoke της Tesla σε άλλο επίπεδο!
Σε μια τέτοια διαμόρφωση, η οποία θα μπορούσε να ενσωματωθεί κάλλιστα σε ένα ηλεκτρικό αυτοκίνητο με αυτόματο κιβώτιο ταχυτήτων, η κλασική πενταλιέρα πεντάλ δεν ήταν πλέον απαραίτητη.

Το νεωτερικό τιμόνι του Ομίλου Stellantis είναι επίσης σχεδιασμένο έτσι ώστε να μπορεί να αποσύρεται στο ταμπλό. Επομένως είναι κατάλληλο για δυνητικά πλήρη αυτόνομα οχήματα, στα οποία ο οδηγός θα έχει τη μέγιστη άνεση. Πολλές παρόμοιες παραλλαγές έχουν κατοχυρωθεί με δίπλωμα ευρεσιτεχνίας, άλλες με λαβές και άλλες με κουμπιά, και πάντως ακολουθώντας την ίδια αρχή.
Προς το παρόν, τίποτα δεν μας λέει ότι αυτή η νέα πατέντα θα βρει πεδίο εφαρμογής. Το ορθογώνιο τιμόνι Hypersquare με οθόνη αφής από την άλλη, θα λανσαριστεί από την Peugeot το 2026.



