
H BMW πάει το τιμόνι yoke της Tesla σε άλλο επίπεδο!
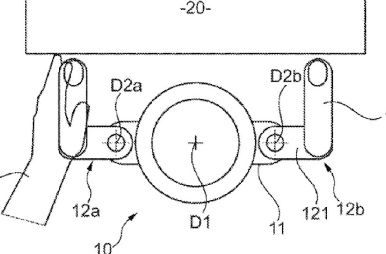
Η BMW κατέθεσε πατέντα για ένα τιμόνι τύπου yoke με αναδιπλούμενες και περιστρεφόμενες χειρολαβές για τα μοντέλα της με πλήρως αυτόνομη οδήγηση.


Η Tesla προκάλεσε για άλλη μια φορά ντόρο όταν το ανανεωμένο Model S αποχαιρέτησε το παραδοσιακό τιμόνι για χάρη ενός yoke. Τώρα, ήρθε η σειρά της BMW να κινηθεί στο ίδιο μονοπάτι, καθώς ο Βαυαρός κατασκευαστής κατέθεσε μια πατέντα στις ΗΠΑ για την δικιά του εκδοχή του yoke.
Σε αντίθεση με την Tesla, που πήρε ένα συμβατικό τιμόνι και «έκοψε» το πάνω και κάτω μέρος του, η BMW θέλει να πάει το yoke της σε άλλο επίπεδο.
Στα σχέδια της πατέντας που κατατέθηκαν, ο Βαυαρός κατασκευαστής περιγράφει το yoke του ως ένα τιμόνι με «περιστρεφόμενες χειρολαβές». Αυτό που συμπεραίνουμε είναι ότι οι δύο χειρολαβές μένουν πάντα κάθετες ανεξάρτητα από την κλήση του τιμονιού.
Το yoke πιθανότατα θα τοποθετηθεί σε μοντέλα της BMW τα οποία θα έχουν την δυνατότητα για πλήρως αυτόνομη οδήγηση. Έτσι, όταν το αυτοκίνητο θα κινείται αυτόνομα οι χειρολαβές θα αναδιπλώνονται ελευθερώνοντας περισσότερο χώρο στη θέση του οδηγού.
Σύμφωνα με πηγές, η μάρκα έχει καταθέσει ήδη την συγκεκριμένη πατέντα στην Γερμανία και στην Κίνα. Αυτό σημαίνει ότι δεν είναι καθόλου απίθανο να δούμε το yoke της BMW να παίρνει πολύ σύντομα σάρκα και οστά σε κάποιο μοντέλο παραγωγής της.
Όπως και να έχει, η επανεφεύρεση του τιμονιού από την BMW θα αποτελέσει σίγουρα αντικείμενο debate για πολλές αυτοκινητικές συζητήσεις στο μέλλον.