Mazda: Ο Wankel επιστρέφει επίσημα το 2019
Μόνο που θα εκτελεί χρέη γεννήτριας επέκτασης αυτονομίας (range extender) σε ένα νέο ηλεκτρικό μοντέλο.
Περιμέναμε τον περιστροφικό κινητήρα σε κάποιο νέο σπορ αυτοκίνητο, αλλά και μόνο η επιστροφή του αποτελεί ένα ελπιδοφόρο μήνυμα.
Ο αντιπρόεδρος της Mazda, υπεύθυνος για τις πωλήσεις και την εξυπηρέτηση πελατών στην Ευρώπη, Martijn ten Brink, επιβεβαίωσε ότι ο θρυλικός περιστροφικός κινητήρας θα επιστρέψει. Μιλώντας στο ολλανδικό ZerAuto.nl, ο ten Brink αποκάλυψε κάποια ενδιαφέροντα στοιχεία για τα μελλοντικά σχέδια της ιαπωνικής εταιρείας.
Σύμφωνα με το πλάνο “Zoom-Zoom 2030”, η Mazda εξελίσσει ένα αμιγώς ηλεκτρικό μοντέλο που θα λανσαριστεί στην αγορά το 2019. Δεν υπάρχουν άλλες πληροφορίες για το νέο EV, όμως ο ten Brink αποκάλυψε ότι θα είναι διαθέσιμο και με ένα σύστημα επέκτασης της αυτονομίας (range extender) που θα χρησιμοποιεί έναν κινητήρα Wankel.

Αν και το σύστημα «στην πραγματικότητα δεν χρειάζεται αφού ο μέσος πελάτης καλύπτει μόνο 60 km τη μέρα, από το σπίτι στη δουλειά και πίσω», η αποστολή του range extender θα είναι να «αφαιρεί κάθε ανησυχία από τους πελάτες».
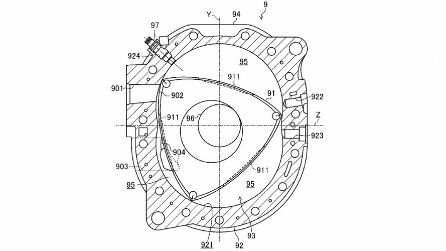
Ο συγκεκριμένος περιστροφικός κινητήρας θα έχει ένα μόνο στροφείο (ρότορα) και δεν θα χρησιμοποιεί υπερπληρωτή. Θα κινεί αποκλειστικά μια γεννήτρια και θα είναι τοποθετημένος χαμηλά στη δομή του αυτοκινήτου ώστε να δίνει χαμηλό κέντρο βάρους. Σε διαστάσεις θα είναι «όσο ένα κουτί παπουτσιών» και θα λειτουργεί χωρίς κανένα κραδασμό ώστε ο οδηγός να μην καταλαβαίνει πότε θα μπαίνει στο παιχνίδι.
Όμως, παρά τις κινήσεις αυτές προς τον εξηλεκτρισμό, η Mazda πιστεύει ακόμη στις δυνατότητες του κινητήρα εσωτερικής καύσης. «Κατά τη γνώμη της Mazda, o κινητήρας εσωτερικής καύσης είναι κάθε άλλο παρά ξεγραμμένος», εξηγεί ο ten Brink. «Ακόμη και μετά από 15 έως 25 χρόνια, ο κινητήρας εσωτερικής καύσης θα παραμένει ένα σημαντικό κομμάτι των αυτοκινήτων, καθώς τον χρησιμοποιούν τόσο τα απλά υβριδικά όσο και τα επαναφορτιζόμενα» [βλ. σχετικό διάγραμμα στη φωτογραφική gallery]
Η Mazda σχεδιάζει να αυξήσει την ενεργειακή απόδοση των θερμικών κινητήρων της μέχρι και στο 56% ώστε τα μελλοντικά μοντέλα της να συναγωνίζονται τα ηλεκτρικά σε εκπομπές “well-to-wheel” (συνολικές, κατά την κατασκευή και τη χρήση). Η τεχνολογία SkyActiv-X, έναυσης με συμπίεση σε βενζινοκινητήρα, βρίσκεται σε προχωρημένο στάδιο και θα μπει σε κανονική παραγωγή τα επόμενα χρόνια.
ΔΕΙΤΕ ΑΚΟΜΗ Mazda: 30% μεγαλύτερη οικονομία με την τεχνολογία Skyactiv-X
[Πηγή: ZerAuto.nl]



