Subaru: Κατέθεσε πατέντα που αλλάζει το κάμπερ εν κινήσει
Κάποτε η Subaru πρωτοπορούσε σε νέες τεχνολογίες. Τώρα ετοιμάζει κάτι ριζοσπαστικό στον τομέα της ανάρτησης.
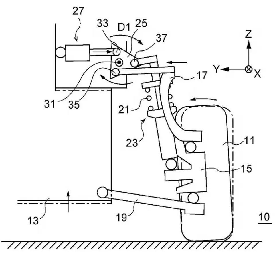
Η Subaru έχει κατοχυρώσει πατέντα που προβλέπει σαρωτικές αλλαγές στον τομέα του στησίματος. Επιτρέποντας όχι μόνο τη ρύθμιση του ύψους σε πραγματικό χρόνο, αλλά και του κάμπερ των τροχών -ενώ το αυτοκίνητο βρίσκεται εν κινήσει.
Η πατέντα εισάγει έναν επιπλέον σύνδεσμο πάνω από το επάνω ψαλίδι, ο οποίος καθώς το αμορτισέρ συμπιέζεται ή εκτείνεται, επιτρέπει τη μεταβολή του ύψους από το έδαφος και την αλλαγή της γωνίας κάμπερ.
Καθώς ενεργοποιείται, ο σύνδεσμος περιστρέφεται και τραβάει το πάνω μέρος της ανάρτησης προς τα μέσα. Με αποτέλεσμα να δίνει αρνητικό κάμπερ και να χαμηλώνει το κέντρο βάρους.
Στην ιδανική του μορφή, το σύστημα θα λειτουργεί με αυτόματη ρύθμιση σε κάθε γωνιά του αυτοκινήτου -λαμβάνοντας δεδομένα από αισθητήρες της γωνίας του τιμονιού, της επιτάχυνσης και της διαδρομής της ανάρτησης

Αυτό δεν σημαίνει ότι θα δεις σύντομα την πατέντα σε κάποιο BRZ. Η Subaru δεν έχει ακόμα επιβεβαιώσει ότι θα την ενσωματώσει σε μοντέλο παραγωγής.
Για να γίνει αυτό, θα πρέπει να ξεπεράσει κάμποσες δυσκολίες. Να διασφαλίσει την αξιοπιστία και τη μεγάλη διάρκεια ζωής του συστήματος. Αλλά και να βρει τρόπους να περιορίσει το κόστος, ώστε να μην αυξάνει υπέρμετρα την τιμή αγοράς.
ΔΕΙΤΕ ΑΚΟΜΗ Κίτρινα Toyota GR86, Subaru BRZ: Κλήρωση για να τα αγοράσεις!
Φυσικά, δεν είναι η πρώτη φορά που η Subaru πρωτοπορεί στο θέμα του στησίματος. Πριν 34 χρόνια, το καταπληκτικό SVX ενσωμάτωνε μια μορφή παθητικής τετραδιεύθυνσης.
Η πίσω ανάρτηση είχε ρυθμιστεί ώστε υπό πίεση να αλλάζει η σύγκλιση των πίσω τροχών. Δεν υπήρχε μηχανισμός, ούτε ηλεκτρονικό σύστημα -μόνο ιαπωνική ευστροφία.




