Χειροκίνητο κιβώτιο ταχυτήτων στα ηλεκτρικά Ford στο μέλλον;
Σχεδιάζει άραγε η Ford να ενσωματώσει χειροκίνητο λεβιέ ταχυτήτων στα μελλοντικά της ηλεκτρικά μοντέλα; Αυτό τουλάχιστον υποδηλώνει ένα δίπλωμα ευρεσιτεχνίας που κατατέθηκε στις 10 Φεβρουαρίου 2026.
Χειροκίνητος λεβιές σε ηλεκτρικό αυτοκίνητο; Κι όμως, διαβάσατε σωστά! Αλλά ποιος θα ήταν ο σκοπός του; Η Ford έχει φανταστεί μια λύση πλήρως ψηφιακή.
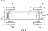
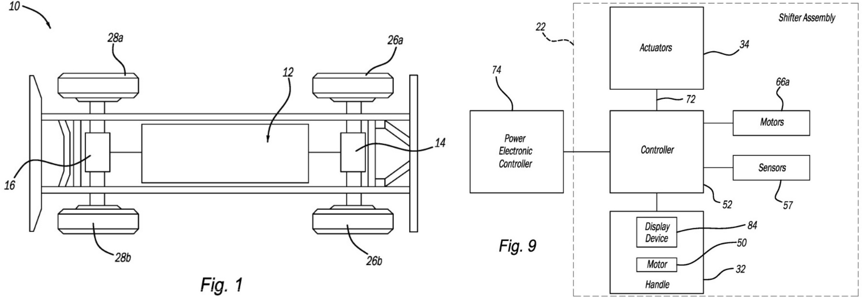
Σύμφωνα με την περιγραφή του εγγράφου που δημοσιεύτηκε στο Free Patents Online, ο λεβιές δεν θα συνδέεται με κανένα μηχανικό στοιχείο μετάδοσης, σε αντίθεση με ένα πραγματικό χειροκίνητο κιβώτιο.
Η ιδέα διχάζει: κάποιοι τη βλέπουν ως έναν τρόπο διατήρησης της οδηγικής απόλαυσης, ενώ άλλοι θεωρούν τεχνητό τον χαρακτήρα μιας τέτοιας τεχνολογίας
Στην πράξη, ο συγκεκριμένος λεβιές θα λειτουργεί περισσότερο ως ηλεκτρονική διεπαφή, ικανή να προσομοιώνει διαφορετικές αλληλεπιδράσεις με το αυτοκίνητο, όπως η μεταβολή της απόκρισης του ηλεκτροκινητήρα ή η αλλαγή ορισμένων παραμέτρων οδήγησης. Πίσω από αυτήν την πατέντα για έναν «ψεύτικο λεβιέ ταχυτήτων» κρύβεται και μια λογική βιομηχανικής απλοποίησης.
Η Ford αναφέρεται συχνά σε αυτή τη φιλοσοφία, που στοχεύει στη μείωση του αριθμού των εξαρτημάτων. Στη συγκεκριμένη περίπτωση, ο λεβιές δεν θα χρησίμευε μόνο για την «αλλαγή σχέσεων», αλλά θα μπορούσε να λειτουργεί και ως επιλογέας προγραμμάτων οδήγησης ή ακόμη κι ως ένα ευρύτερο εργαλείο αλληλεπίδρασης του οδηγού με τις λειτουργίες του αυτοινήτου.
Όπως και άλλοι κατασκευαστές πριν από αυτήν -με χαρακτηριστικό παράδειγμα τη Hyundai και το Ioniq 5N- ο κατασκευαστής από το Dearborn φαίνεται να επιδιώκει την αναβίωση μιας αίσθησης μηχανικής εμπλοκής στην οδήγηση.
Ωστόσο, η ιδέα διχάζει: κάποιοι τη βλέπουν ως έναν τρόπο διατήρησης της οδηγικής απόλαυσης, ενώ άλλοι θεωρούν τεχνητό τον χαρακτήρα μιας τέτοιας τεχνολογίας. Το μόνο βέβαιο προς το παρόν είναι ότι πρόκειται απλώς για ένα δίπλωμα ευρεσιτεχνίας -μια ιδέα που ενδέχεται και να μη φτάσει ποτέ στην παραγωγή.



