Σύντομα κεραία Starlink ενσωματωμένη στην οροφή των Tesla;
Νέο δίπλωμα ευρεσιτεχνίας αφήνει να εννοηθεί ότι στο μέλλον οι δορυφορικοί δέκτες Starlink θα μπορούσαν να ενσωματωθούν απευθείας στα μοντέλα της Tesla.
Η Tesla φαίνεται πως θέλει να προσθέσει ακόμη ένα τεχνολογικό επίπεδο στα αυτοκίνητά της. Ένα πρόσφατο δίπλωμα ευρεσιτεχνίας, που εντόπισε το Electrek, περιγράφει μια «διαφανή στις ραδιοσυχνότητες συναρμολόγηση οροφής οχήματος». Για Starlink;
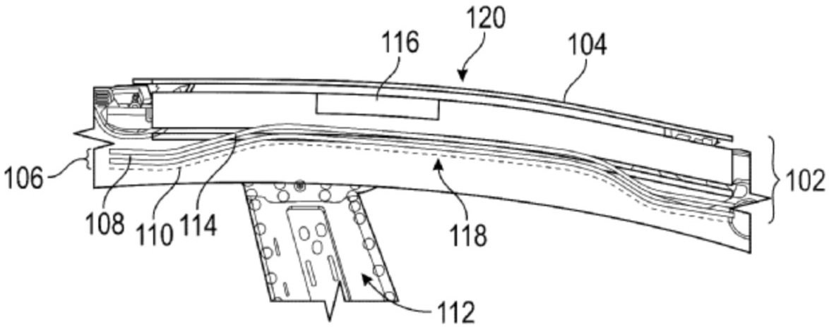
Με μια τέτοια λύση, στόχος είναι να αντιμετωπιστεί ένα γνωστό πρόβλημα. Τα κλασικά υλικά που χρησιμοποιούνται στην αυτοκινητοβιομηχανία, όπως το επεξεργασμένο γυαλί ή το μέταλλο, εξασθενούν σημαντικά τα δορυφορικά σήματα, καθιστώντας δύσκολη την ενσωμάτωση κεραιών στο εσωτερικό του αυτοκινήτου. Για να το αλλάξει αυτό, η Tesla προτείνει τη χρήση ειδικών πολυμερών, όπως το πολυκαρβονικό ή το ASA (ακρυλονιτρίλιο στυρένιο ακρυλικό), τα οποία επιτρέπουν τη διέλευση ραδιοκυμάτων χωρίς να θυσιάζεται η ακαμψία της οροφής.
Μια τέτοια τεχνολογία θα επέτρεπε σε ένα Tesla να εναλλάσσεται απρόσκοπτα μεταξύ 5G και δικτύου Starlink, ανάλογα με την κάλυψη, εξασφαλίζοντας αξιόπιστη σύνδεση σε κάθε συνθήκη
Η πολυστρωματική αυτή αρχιτεκτονική θα επέτρεπε την πλήρη απόκρυψη μιας κεραίας μέσα στη δομή του αυτοκινήτου, χωρίς ορατά στοιχεία ή εξωτερικές προσθήκες. Αν και το δίπλωμα ευρεσιτεχνίας δεν αναφέρει συγκεκριμένη υπηρεσία, η σύνδεση με το Starlink είναι προφανής. Το δορυφορικό δίκτυο της SpaceX -εταιρείας που επίσης ελέγχεται από τον Elon Musk- προσφέρει σύνδεση υψηλών ταχυτήτων και χαμηλής καθυστέρησης, ακόμη και σε περιοχές με ελλιπή κάλυψη κινητής τηλεφωνίας.
Μια τέτοια τεχνολογία θα επέτρεπε σε ένα Tesla να εναλλάσσεται απρόσκοπτα μεταξύ 5G και δικτύου Starlink, ανάλογα με την κάλυψη, εξασφαλίζοντας αξιόπιστη σύνδεση σε κάθε συνθήκη.
Ορισμένοι χρήστες έχουν ήδη πειραματιστεί με φορητές κεραίες Starlink σε αυτοκίνητα, κυρίως για περιστασιακή χρήση εκτός δικτύου, αλλά με αυτοσχέδιες λύσεις. Ωστόσο, το πραγματικό όφελος μιας τέτοιας τεχνολογίας περιορίζεται σε συγκεκριμένα σενάρια. Τα αυτοκίνητα δεν χρειάζονται μόνιμη δορυφορική σύνδεση για να λειτουργούν, ενώ η αυτόνομη οδήγηση δεν μπορεί να βασιστεί σε εξωτερική συνδεσιμότητα, η οποία θεωρείται αβέβαιη. Παρ’ όλα αυτά, θα μπορούσε να αποδειχθεί χρήσιμη για οδηγούς που κινούνται συχνά σε απομονωμένες περιοχές.
Ανοιχτό παραμένει και το οικονομικό σκέλος. Σήμερα, η Tesla καλύπτει μέρος του κόστους της κυψελωτής συνδεσιμότητας. Μια ενσωματωμένη λύση που θα βασίζεται σε εσωτερική υποδομή ενδέχεται μακροπρόθεσμα να αλλάξει αυτή την ισορροπία. Προς το παρόν, πάντως, το δίπλωμα ευρεσιτεχνίας δεν προδικάζει ούτε άμεση εμπορική αξιοποίηση ούτε μαζική εφαρμογή.



