
Η Land Rover εισάγει στρατιωτική τεχνολογία στα 4x4 της
Το σύστημα CTIS μπορεί να μεταβάλλει την πίεση των ελαστικών ανάλογα με τις εκάστοτε συνθήκες ή τις επιθυμίες του οδηγού.


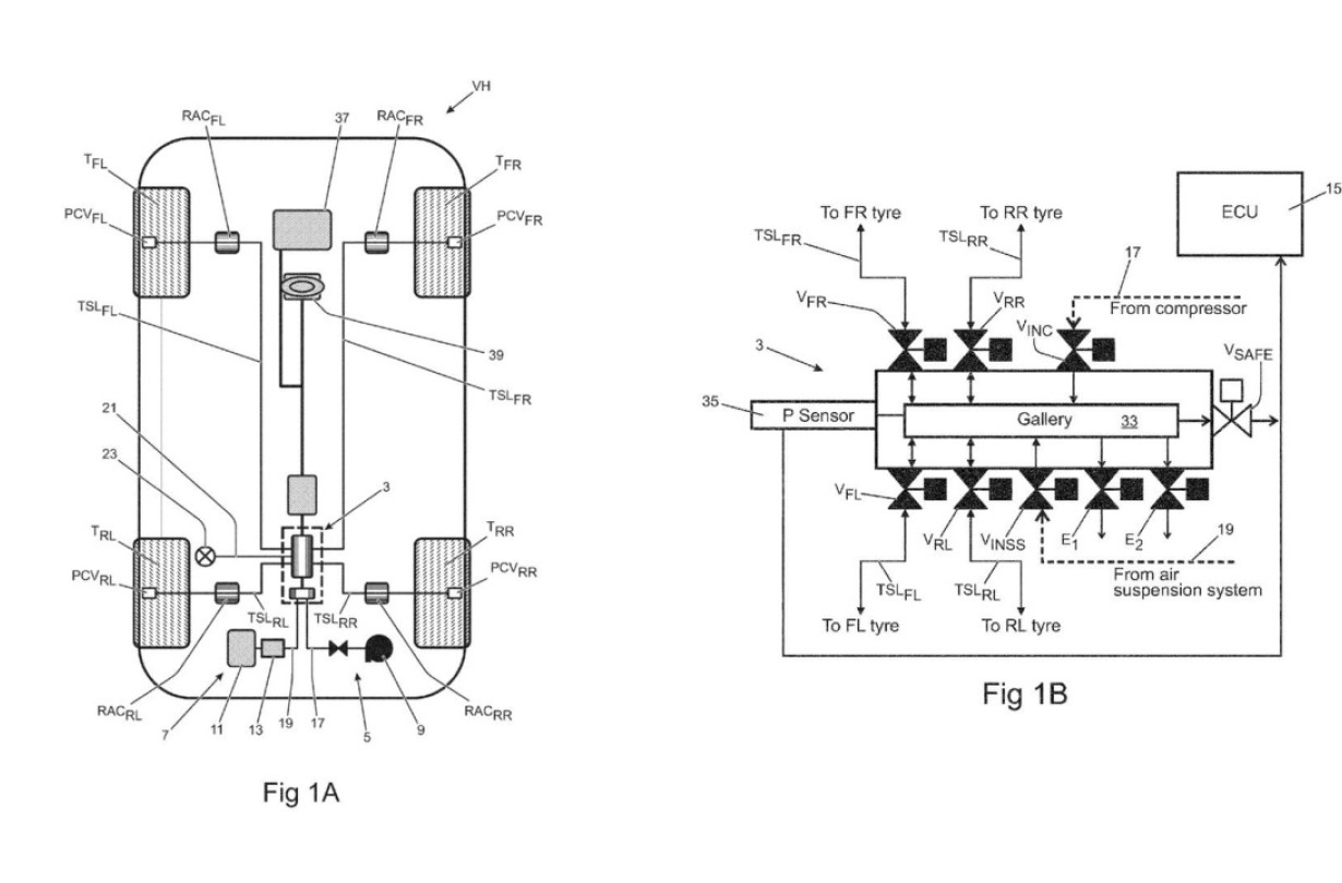
Η Land Rover κατέθεσε αίτηση ευρεσιτεχνίας για ένα σύστημα κεντρικού ελέγχου της πίεσης των ελαστικών (CTIS), που θα διευκολύνει την κίνηση εκτός δρόμου, αλλά και θα μειώνει την κατανάλωση καυσίμου στα ταξίδια.
Ο κεντρικός έλεγχος της πίεσης, με αεροσυμπιεστή πάνω στο αυτοκίνητο, ήδη υπάρχει σε στρατιωτικά οχήματα και σε ειδικά 4x4 για extreme off-roading και αγώνες. Όμως η Land Rover πάει το πράγμα ένα βήμα παραπέρα, το κάνει πιο high-tech, φουσκώνοντας και ξεφουσκώνοντας τα λάστιχα, σε προκαθορισμένες πιέσεις, ανάλογα με το οδηγικό πρόγραμμα που έχει επιλεγεί. Η μεταβολή της πίεσης μπορεί να γίνεται αυτόματα ή σύμφωνα με τις απαιτήσεις του οδηγού.
Τα σχέδια της Land Rover για την πατέντα δείχνουν ρυθμίσεις για δρόμο, για οικονομία, για κίνηση εκτός δρόμου και για «ξεκόλλημα» (δείτε το σχέδιο Fig.3 στη φωτογραφική gallery). Η ρύθμιση “On Road” είναι αυτή που θα χρησιμοποιείται πιο συχνά, αλλά οι υψηλότερες πιέσεις της “Economy” θα μειώνουν την κατανάλωση καυσίμου στο ταξίδι.
Στη ρύθμιση “Off Road”, το σύστημα θα μειώνει αρχικά την πίεση στο νόμιμο όριο για το δρόμο. Όταν ο οδηγός μειώσει την ταχύτητα κάτω από ένα προκαθορισμένο όριο, τα λάστιχα θα ξεφουσκώνουν ακόμα περισσότερο, οπότε, όταν το αυτοκίνητο κολλήσει, η πολύ χαμηλή πίεση θα αυξάνει την επιφάνεια επαφής των ελαστικών με το έδαφος, για καλύτερη ελκτική πρόσφυση (ρύθμιση “Recovery”).
Ο επεξεργαστής του CTIS της Land Rover φουσκώνει πρώτα τα λάστιχα σε μια ενδιάμεση πίεση, υψηλότερη από την προκαθορισμένη, και κατόπιν τα ξεφουσκώνει μέχρι να φτάσουν στο επιθυμητό όριο. Έτσι δεν χρειάζεται να δουλέψει ο αεροσυμπιεστής πάνω από μία φορά.
Και φυσικά, με το CTIS τα λάστιχα είναι πάντα στις σωστές πιέσεις, χωρίς να χρειάζεται να τα ελέγχουμε ένα-ένα κάθε τόσο – πράγμα πολύ σημαντικό για την ασφάλεια.
Αξίζει να ακολουθήσετε το παρακάτω link για να δείτε αναλυτικά την αίτηση για την πατέντα, πόσο λεπτομερής είναι και πόση δουλειά απαιτεί…