Η GM ετοιμάζει 7άρι κιβώτιο διπλού συμπλέκτη
Τα σχέδια για την κατοχύρωση του καινούργιου κιβωτίου έχουν ήδη κατατεθεί, αν και ακόμα δεν γνωρίζουμε σε ποια μοντέλα θα τοποθετηθεί.
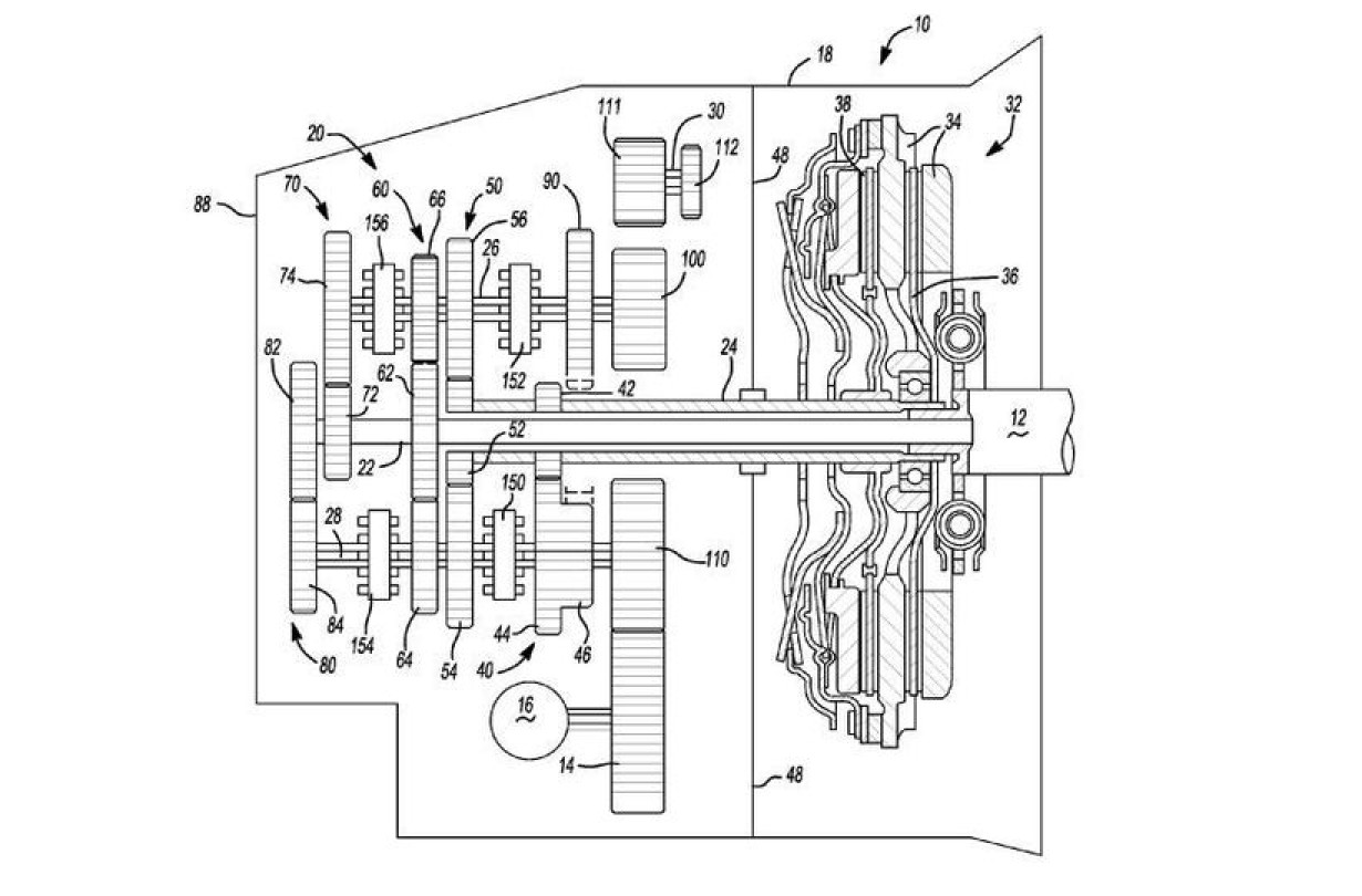
Τα σχέδια για το 7τάχυτο κιβώτιο διπλού συμπλέκτη της GM κατατέθηκαν για κατοχύρωση τον περασμένο Σεπτέμβριο. Χωρίς να υπάρχει ακόμα επίσημη επιβεβαίωση, εκτιμάται ότι το πρώτο μοντέλο που θα το φορέσει θα είναι η επερχόμενη Chevrolet Corvette ZR1.
Άνθρωποι της General Motors δήλωσαν μάλιστα πως υπάρχει η δυνατότητα προσθήκης και περισσότερων σχέσεων στο ίδιο σχέδιο. Να περιμένουμε και 8άρι;
[Πηγή: ZerCustoms]



