Apple: Αυτόνομο και EV σε μια «συσκευασία» για εξοικονόμηση και κοινή χρήση της ενέργειας
Η Apple κατέθεσε πατέντα υπό τον τίτλο «Peloton» για μια συσκευή που επιτρέπει στα οχήματα να ταξιδεύουν σε κομβόι για να καταναλώνουν συνολικά λιγότερη ενέργεια και πιθανόν μεταφέροντας από το ένα στο άλλο την ανακτώμενη.
Όταν οι ποδηλάτες στην πίστα γκρουπάρονται ο ένας πίσω από τον άλλον, αυτό αποτελεί ένα τρόπο για να μειώσουν την προσπάθεια και την κούραση όσων κρύβονται πίσω από τον επικεφαλής, καθώς αυτός είναι που αντιμετωπίζει το μεγαλύτερο μέρος της αντίστασης του αέρα. Το φαινόμενο αυτό λαμβάνει σιγά σιγά διστάσεις και μεταξύ των οδηγών EV στην Ευρώπη. Ειδικά όταν κινούνται σε δρόμο ταχείας κυκλοφορίας και ακολουθούν από κοντά ένα φορτηγό για να μειώσουν την κατανάλωση, ως εκ τούτου να αυξήσουν την αυτονομία.
Υπό το ίδιο πρίσμα, η Apple εργάζεται πάνω θέμα αυτό, πιστεύοντας ότι η μετακίνηση σε κομβόι σφιχτού σχηματισμού θα ήταν δυνατό να καταλήξει σε ένα ή περισσότερα βήματα για την αραιότερη επαναφόρτιση των μπαταριών και τη μείωση των στάσεων. Ένα κέρδος ενέργειας και μεγαλύτερη αυτονομία.
Στο σύστημα της Apple, το σύστημα πλοήγησης του οχήματος θα μπορεί να συγκρίνει την αυτονομία κάθε οχήματος στο σχηματισμό και να καθορίζει μια συγκεκριμένη σειρά. Το σύστημα θα είναι σε θέση να δίνει οδηγίες στα άλλα οχήματα, για τη βέλτιστη διάταξή τους. Όπως για παράδειγμα η τοποθέτηση αυτού με το μεγαλύτερο απόθεμα ενέργειας εμπρός, έτσι ώστε εκείνα με το χαμηλότερο απόθεμα να κερδίζουν τα περισσότερα από τα οφέλη.
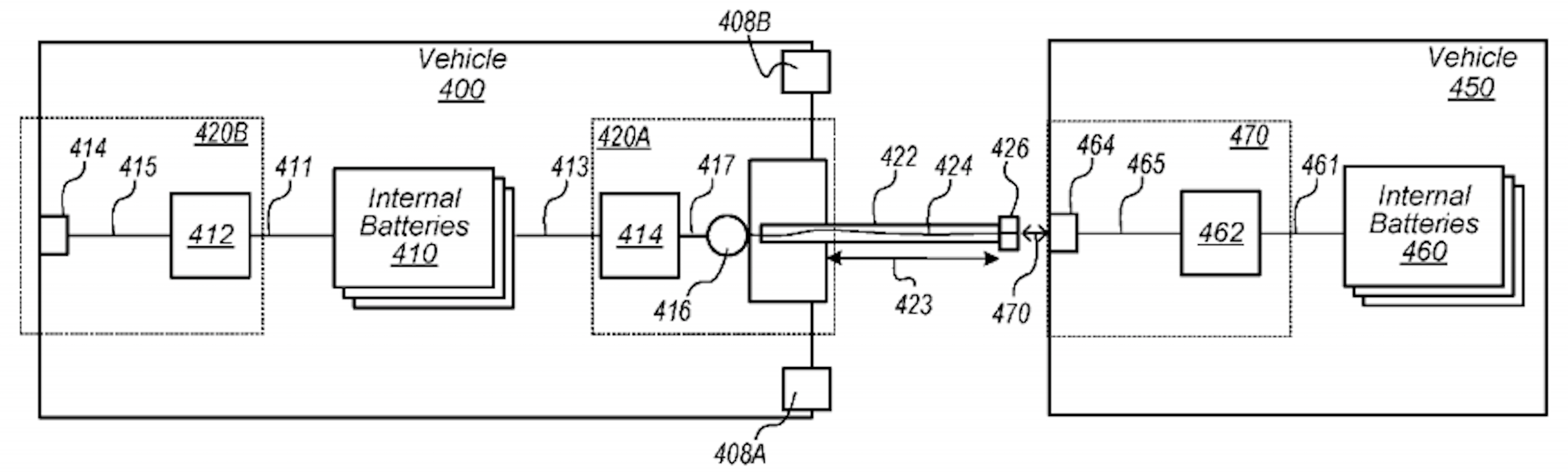
Κι ενώ η πορεία σε σχηματισμό θα μπορούσε να βοηθήσει στην εξοικονόμηση ενέργειας απλώς μέσω εντολών από το navigation, η Apple προτείνει επίσης ότι τα EV θα μπορούσαν να μοιράζονται το απόθεμά τους σε ενέργεια. Μια τηλεσκοπική συσκευή θα μπορούσε να προεκταθεί μεταξύ δύο οχημάτων, επιτρέποντας τη μεταφορά ενέργειας από το ένα στο άλλο, εάν απαιτείται.
Έτσι στην περίπτωση ενός σχηματισμού ΕV, αυτό θα επιτρέψει σε ένα αυτοκίνητο με άδεια μπαταρία να επαναφορτιστεί από άλλα που βρίσκονται εμπρός του. Δεδομένου ότι όλα τα οχήματα του κομβόι είναι αυτόνομα, ικανά να επικοινωνούν μεταξύ τους και σε θέση να γνωρίζουν τις θέσεις τους και τις οδικές συνθήκες, θα ήταν εφικτό κινούνται σε πολύ κοντινή απόσταση για παρατεταμένο χρονικό διάστημα, μεταφέροντας αποδεκτή ποσότητα ενέργειας από το ένα στο άλλο.
Η Apple δεν είναι η μόνη εταιρία που εργάζεται σε διαδρομή σε κομβόι για να εξοικονομήσει και να μοιραστεί την ενέργεια των ηλεκτρικών οχημάτων που το αποτελούν: Η Ford την έχει ενσωματώσει στο πρωτότυπο του αυτόνομου ηλεκτρικού φορτηγού F-Vision.
[Πηγή Apple Insider]



