Αερόσακος εμπρός κολόνας για cabrio από την Porsche
Η Porsche πατεντάρισε έναν νέο αερόσακο ο οποίος θα προστατεύει το κεφάλι οδηγού και συνοδηγού από επαφή με τις κολόνες του παρμπρίζ.
Έναν νέο τύπο αερόσακου εξελίσσει η Porsche, με σκοπό την τοποθέτησή του στα ανοιχτά μοντέλα της εταιρίας, τουλάχιστον αρχικά.
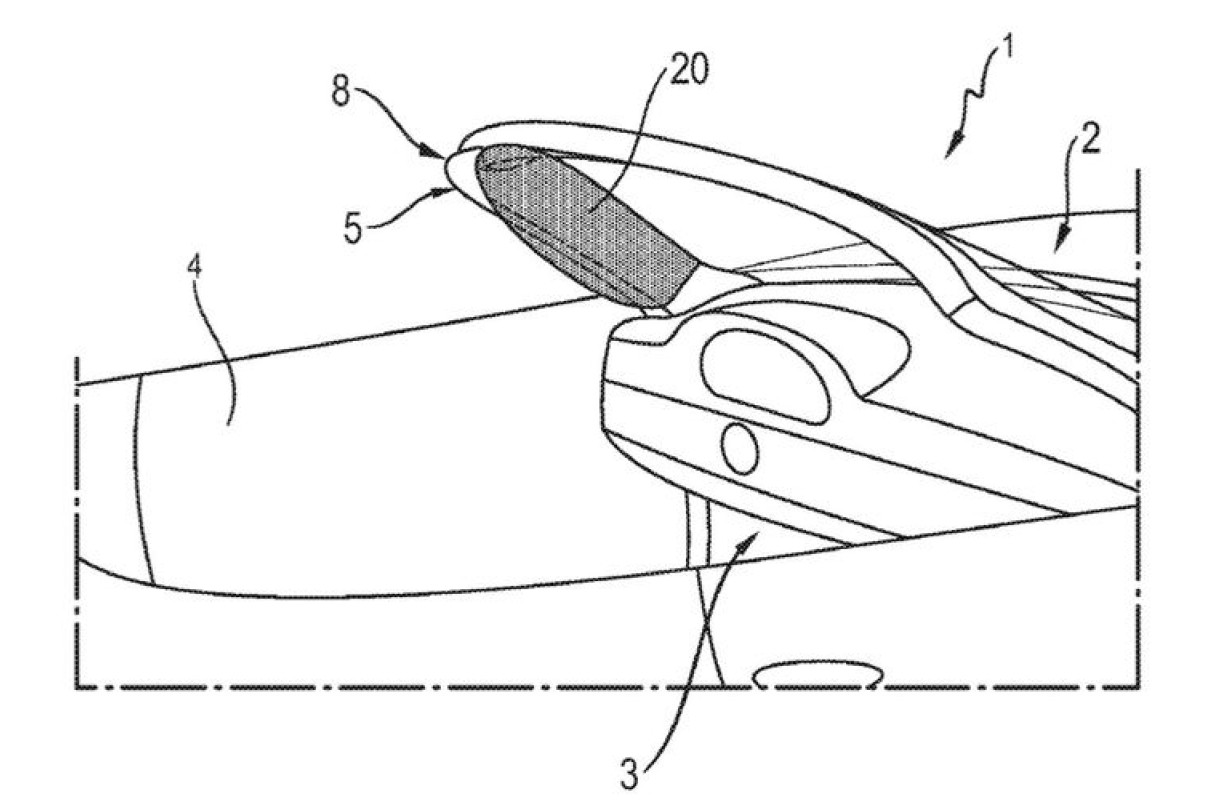
Στα σχέδια που κυκλοφόρησαν βλέπουμε έναν αερόσακο που κρύβεται στην πλαϊνή κολόνα του παρμπρίζ ενός ανοιχτού αυτοκινήτου, και όταν εκτείνεται καταλαμβάνει σχεδόν όλο το ύψος της. Σκοπός είναι φυσικά η προστασία του κεφαλιού του οδηγού και του συνοδηγού από την επαφή με την κολόνα. Κάτι που αναμένεται να δώσει σημαντικό πλεονέκτημα σε δοκιμές πρόσκρουσης όπως η small overlap του αμερικανικού οργανισμού IIHS, στην οποία συχνά το κεφάλι του οδηγού, αφού πρώτα έρθει σε επαφή με τον αερόσακο, κινείται προς την αριστερή κολόνα.
Η σχετική καταχώρηση της Porsche στο Γραφείο Ευρεσιτεχνιών και Σημάτων των ΗΠΑ είχε γίνει τον περασμένο Οκτώβριο, όμως μόλις αυτές τις μέρες δημοσιεύτηκαν επίσημα τα σχέδια. Υποθέτουμε ότι σε αυτά απεικονίζεται ένα ανοιχτό αυτοκίνητο γιατί ίσως σε κάποιο τέτοιο μοντέλο παραγωγής της Porsche θα εφαρμοστεί αρχικά ο αερόσακος κολόνας. Όμως το κείμενο που συνοδεύει τα σχέδια, σε καμία περίπτωση δεν περιορίζει τη χρήση του αποκλειστικά σε cabrio.
[Πηγή: Motor1]



